7月13日,据全国企业破产重整案件信息网披露的信息,广州富力被广东祥正商贸有限公司、广州市广丰混凝土有限公司申请破产重整,理由是“广州富力资产不足、缺乏清偿能力。”
此外,企查查APP也显示,近日,广州富力地产股份有限公司新增2条破产审查案件,申请人分别为广州市广丰混凝土有限公司、广东祥正商贸有限公司,经办法院均为广东省广州市中级人民法院。

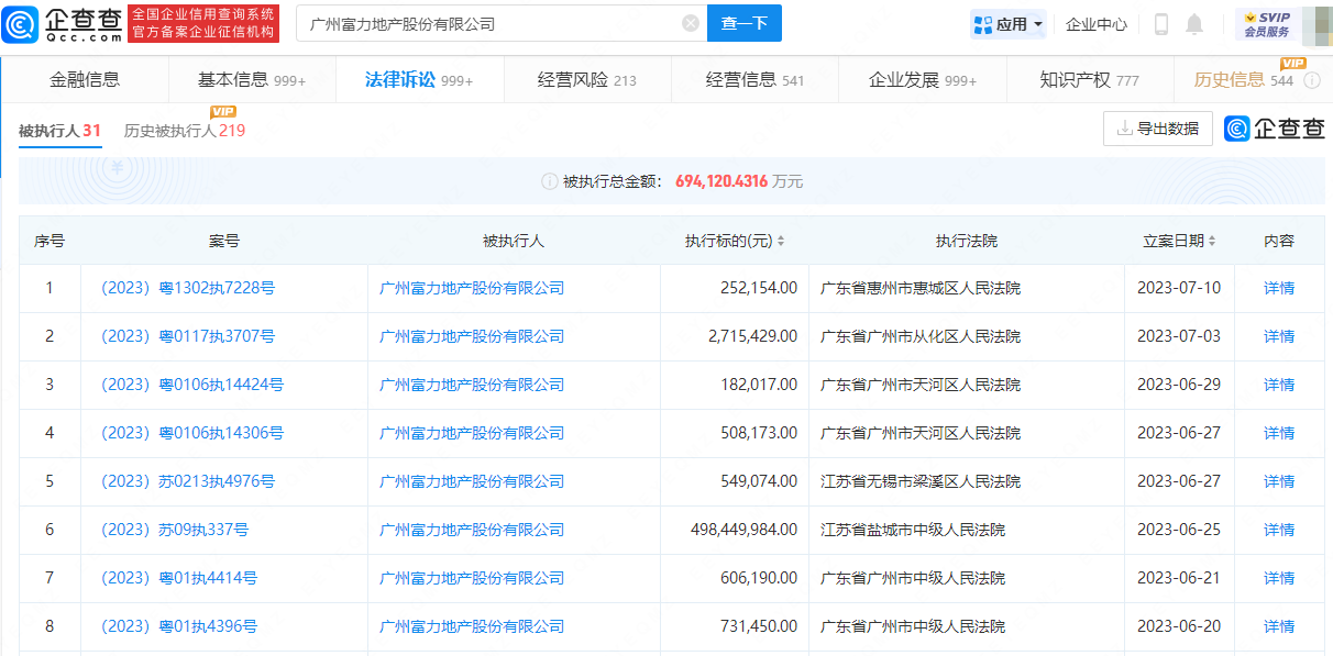
企查查显示,广州富力地产股份有限公司成立于1994年8月,注册资本37.52亿元,法定代表人为李思廉。目前,公司已有多条被执行信息。


值得一提的是,重整不同于破产清算,目前只是“申请”,还处于审查阶段。
针对申请破产重整理由,富力地产的回应是,“公司不存在资不抵债的情况,且经营正常,不具备破产原因。”
联合资信出具的跟踪评级报告显示,截至2022年末,广州富力资产总额为3631.02亿元,全部债务为1393.86亿元。
但上市主体富力地产财报显示,截至2022年底,富力地产总资产规模接近3700亿元,负债总额3019.8亿元。其中,流动负债合计2072.19亿元,净资产669.41亿元。
2022年富力地产继续录得大幅亏损,归母净亏损157.79亿元,当期总营收290.30亿元、同比下降58%;而在上一个报告期的2021年,富力地产归母净利润亏损164.7亿元,即两年的累计亏损达到322亿元。
“2022年,公司收入规模同比下降幅度较大,毛利率同比有所回升,整体经营状况承压。”联合资信对富力地产如此评价道。